Наименование Краткое описание
КР1022ЕП1 Устройство управления и стабилизации частоты вращения вала низковольтных коллекторных микродвигателей постоянного тока с возбуждением от постоянных магнитов.
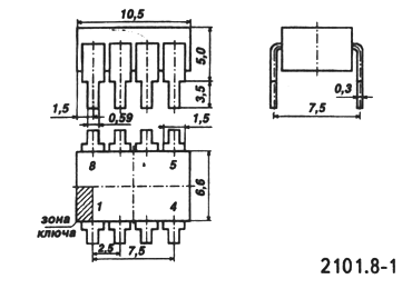
Микросхема КР1022ЕП1 представляет собой устройство управления и стабилизации частоты вращения вала низковольтных коллекторных микродвигателей постоянного тока с возбуждением от постоянных магнитов. Выполнена по планарно-эпитаксиальной технологии с изоляцией элементов p-n переходом. Содержит 39 интегральных элементов. Корпус типа 2101.8-1, маса не более 1 г.
Корпус КР1022ЕП1

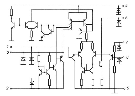
Функциональная схема КР1022ЕП1
Функциональный состав:
A - дифференциальный усилитель
B - источник опорного напряжения
C - источник тока
D - каскад запуска
Назначение выводов:
1 - неинвертирующий вход дифференциального усилителя
2,3 - выводы источника опорного напряжения
4 - напряжение питания +Uп
5 - общий -Uп
6 - выход
7 - второй инвертирующий вход дифференциального усилителя
8 - первый инвертирующий вход дифференциального усилителя
Электрическая схема КР1022ЕП1
Типовые рабочие характеристики КР1022ЕП1

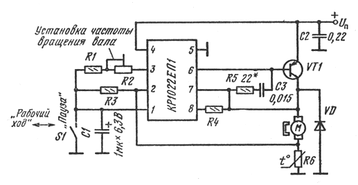
Схема включения
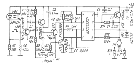
Реализация КР1022ЕП1 в магнитофоне "Электроника М-401С