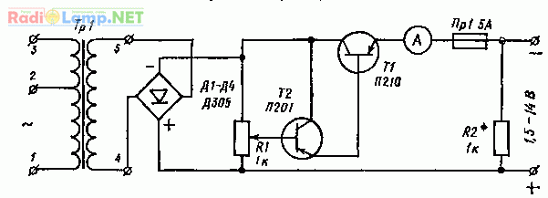
Первая конструкция. Выпрямитель (рис. 1) собран по мостовой схеме на четырех диодах Д1—Д4 типа Д305. Сила зарядного тока регулируется при помощи мощного транзистора Т1, включенного по схеме составного триода.
При изменении смещения, снимаемого на базу триода с потенциометра R1, изменяется сопротивление цепи коллектор — эмиттер транзистора. Зарядный ток при этом можно изменять от 25 мА до 6 А при напряжении на выходе выпрямителя от 1,5 до 14 В.
Резистор R2 на выходе выпрямителя позволяет устанавливать выходное напряжение выпрямителя при отключенной нагрузке. Трансформатор собран на сердечнике сечением 16 см^2. Первичная обмотка рассчитана на включение в сеть с напряжением 127 В (выводы 1—2) или 220 В (выводы 1—3) и содержат 350+325 витков провода ПЭВ 0,35, вторичная обмотка — 45 витков провода ПЭВ 1,5.

Рис.1. Принципиальная электрическая схема выпрямителя (первая конструкция).
Транзистор Т1 устанавливают на металлическом радиаторе, площадь поверхности которого должна быть не менее 350 см^2 с обеих сторон пластины при толщине ее не менее 3 мм.
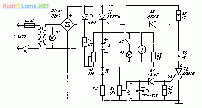
Вторая конструкция
Схема, приведенная на рис. 2, отличается от предыдущей тем, что с целью увеличения максимального тока до 10 А транзисторы T1 и Т2 включены параллельно. Смещение на базы транзисторов, изменением которого регулируется зарядный ток, снимается с выпрямителя, выполненного на диодах Д5—Д6.

Рис. 2. Принципиальная электрическая схема выпрямителя (вторая конструкция).
При зарядке 6-воль-товых аккумуляторов переключатель устанавливается в положение 1, 12-вольтовых — в положение 2. Обмотки трансформатора содержат следующее количество витков: Iа—328 витков провода ПЭВ 0,85; I6 — 233 витка провода ПЭВ 0,63; II — 41+41 виток провода ПЭВ 1,87; III — 7+7 витков провода ПЭВ 0,63. Сердечник — УШ35 X 55.
Литература: В.Г.Бастанов. 300 практических советов, 1986г.
