Мотивом написания этой статьи послужило событие, которое меня возмутило до космических небес! Во-время последней стирки на стиральной машинке BOSCH десятилетней давности, произошла поломка. Она перестала стирать, сливать воду, отжимать и вообще включаться.
Мы вызвали мастера по ремонту стиральных машин. Этот горе ремонтёр постучал пальцем по корпусу машинки, понюхал её со всех сторон, тыкнул каким-то гвоздиком, встал на колени и взмолился, чтобы она включилась.
Пробормотал, что дальнейший ремонт будет стоить 20 000 рублей!
Но атомат безмолвстововал. Выписал квитанцию, получил деньги за вызов и исчез в проёме двери…
Жена скрестила руки на груди вопросительно-угрожающе смотрела на меня.
Мораль какая? Человека можно обмануть только один раз. Беру у внука учебник физики с разделом по электротехнике. Всё выучил как перед экзаменом.
Итак, всё по порядку…
Было установлено:
1. Всё, а именно: мотор, датчики, клапана, защелка, ТЭН, помпа и вся автоматика запитываются напряжением 220В переменного тока. (Может работать автономно)
2. Каждый блок управляется электронным модулем (китайского происхождения) через силовой (семисторный) блок.
Переделка в полуавтомат
Для работы в полуавтоматическом режиме нужно:
1. Всю электроннику выбросить.
2. Провода запитывающие узлы и агрегаты стиральной машинки промаркировать (подписать).
3. Установить на панели стиральной машинки два выключателя (тумблера) и кнопку от звонка.
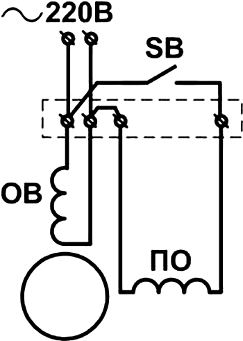
4. К первому выключателю подсоединить мотор по ниже предлагаемой схеме:
С добавлением кнопки для (кратковременного нажатия) пуска:
У BOSCH: 1,2 — пусковая обмотка, а 3,4 — силовая (роторная) обмотка.
5. Второй выключатель (тумблер) соединить с помпой (для слива воды после стирки).
ВСЁ!
Теперь новая Инструкция по эксплуатации (сего девайса)
1. Откройте дверцу.
2. Залейте горячую воду шлангом в открытый люк чуть-чуть недоливая до краёв (это будет 8 литров).
3. Положите свое грязное бельё и закройте дверцу.
4. Вставьте в розетку шнур питания.
5. Включите первый (выключатель) тумблер.
6. Нажмите на секунду кнопку.
7. Через тридцать – шестьдесят минут выключите первым выключателем машинку.
8. Включите второй выключатель (тумблер) и слейте всю воду в канализацию.
9. Повторите операции для полоскания.
Вывод: не вызывайте мастеров из сервиса, а лучше копите деньги на новую стиральную машинку-автомат!