Одним из наиболее ярким музыкальным эффектом в арсенале исполнителя является "ВАУ - эффект", или так называемая "квакушка".
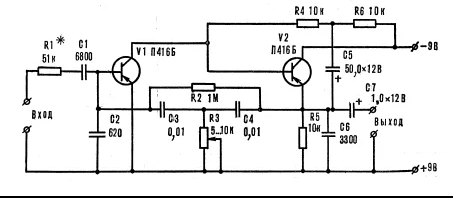
Устройство для его создания представляет собой двухтранзисторный усилитель с перестраиваемой резонансной частотой и с RC зависимой отрицательной обратной связью.
Регулируемым элементом схемы является переменный резистор R3 с помощью которого меняют резонансную частоту фильтра C3, С4, R2, R3. Звуковой сигнал при этом резко изменяет тембровую окраску.
Вместо резистора R3 можно применить фотодиод или транзистор. Следует отметить, что для реализации возможностей схемы коэффициент усиления транзистора должен быть не менее 170. Другие параметры используемых полупроводников приборов существенной роли в этом не играют.
Схема №1:
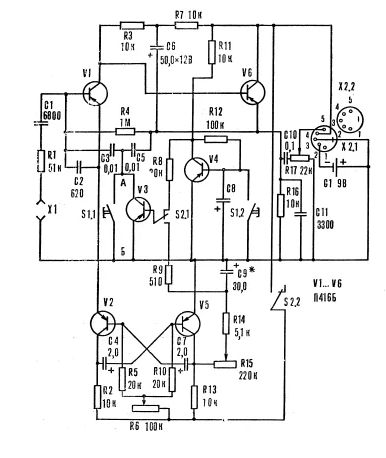
Рассмотрим схему приставки к гитаре "ритм". На транзисторах V1, V6 собран упомянутый выше RC резонансный усилитель. Регулируемым элементом в данном случае является транзистор V3. Внутреннее сопротивление перехода коллектор-эмиттер зависит от напряжения, подаваемого на базу. Это явление и происходит при нажатии кнопки S1.2. Длительность действия эффекта зависит от емкости конденсатора C8 (переключатель S2 в верхнем по схеме положении).
В нижнем положении S2 "квакушка" работает в автоматическом режиме. На транзисторах V2 и V5 собран симметричный мультивибратор , вырабатывающий импульсы с частотой 2 - 15 Гц. При нажатой кнопке S1 переменное напряжение с коллектора V5 через сглаживающий фильтр R14, R15, C9 поступает на базу V3, что приводит к периодическому изменению его внутреннего сопротивления.
На слух эффект воспринимается как звучание гитары с ревербератором.
При помощи переменного резистора R15 можно менять в широких пределах тембр звучания прибора при работе в автоматическом режиме. Резистором R6 регулируют частоту колебаний мультивибратора, а R17 - громкость.
Резистор R4 - имеет смысл заменить на переменный. Тогда можно будет в широких пределах варьировать глубину обратной связи и соответственно глубину эффекта "ВАУ".
Схема №2:
взято из журнала "Радио"