ЗАЧЕМ НУЖНЫ ДИОДЫ ШОТТКИ
Сообщений 1 страница 4 из 4
Поделиться207.05.2018 20:56:06
Диоды Шоттки на основе карбида кремния
Поделиться424.09.2018 18:20:49
Диоды Шоттки в системных блоках питания
Как показывает текущая статистика отказов современных системных блоков питания, наибольшее количество неисправностей возникает во вторичных цепях источников питания. Отказы силовых транзисторных ключей (наиболее типовая неисправность блоков питания предыдущих поколений) на сегодняшнее время случаются крайне редко, что является показателем тех успехов, которые были достигнуты за прошедшее пятилетие производителями силовой полупроводниковой электроники. Одним из самых проблематичных узлов современных блоков питания становятся вторичные выпрямители на диодах Шоттки, что обусловлено большими значениями выходных токов блока питания. Именно высокая частота отказов диодов Шоттки стала основанием для появления этой публикации на страницах нашего журнала.
Диод Шоттки (назван в честь немецкого физика Baльтера Шоттки) – полупроводниковый диод с малым падением напряжения при прямом включении. Диоды Шоттки используют переход металл-полупроводник в качестве барьера Шоттки (вместо p-n перехода, как у обычных диодов). Допустимое обратное напряжение промышленно выпускаемых диодов Шоттки ограничено 250 В (MBR40250 и аналоги), на практике большинство диодов Шоттки применяется в низковольтных цепях при обратном напряжении порядка единиц и нескольких десятков Вольт.
Достоинства диодов Шоттки
В то время как обычные кремниевые диоды имеют прямое падение напряжения около 0.6 – 0.7 В, применение диодов Шоттки позволяет снизить это значение до 0.2 – 0.4 В. Столь малое прямое падение напряжения присуще только диодам Шоттки с максимальным обратным напряжением порядка десятков вольт. При больших обратных напряжениях, прямое падение становится сравнимым с аналогичным параметром кремниевых диодов, что ограничивает применение диодов Шоттки низковольтными цепями. Например, для силового диода Шоттки 30Q150 с максимально возможным обратным напряжением (150 В) при прямом токе 15 А падение напряжение нормируется на уровне от 0.75 В (T = 125°C) до 1.07 В (T = −55°C).
Барьер Шоттки также имеет меньшую электрическую ёмкость перехода, что позволяет заметно повысить рабочую частоту диода. Это свойство используется в интегральных микросхемах, где диодами Шоттки шунтируются переходы транзисторов логических элементов. В силовой электронике малая ёмкость перехода (т. е. короткое время восстановления) позволяет строить выпрямители, работающие на частотах в сотни кГц и выше. Например, диод MBR4015 (15 В, 40 А), оптимизированный под высокочастотное выпрямление, нормирован для работы при dV/dt до 1000 В/мс.
Благодаря лучшим временным характеристикам и малым емкостям перехода, выпрямители на диодах Шоттки отличаются от традиционных диодных выпрямителей пониженным уровнем помех, что делает их наиболее предпочтительными для применения в импульсных блоках питания аналоговой и цифровой аппаратуры.
Недостатки диодов Шоттки
Во-первых, при кратковременном превышении максимального обратного напряжения, диод Шоттки необратимо выходит из строя, в отличие от кремниевых диодов, которые переходят в режим обратного пробоя, и при условии непревышения рассеиваемой на диоде максимальной мощности, после падения напряжения диод полностью восстанавливает свои свойства.
Во-вторых, диоды Шоттки характеризуются повышенными (относительно обычных кремниевых диодов) обратными токами, возрастающими с ростом температуры кристалла. Для вышеупомянутого 30Q150 обратный ток при максимальном обратном напряжении изменяется от 0.12 мА при +25°C до 6.0 мА при +125°C. У низковольтных диодов в корпусах ТО-220 обратный ток может превышать величину в сотни миллиампер (MBR4015 — до 600 мА при +125°C). При неудовлетворительных условиях теплоотвода положительная обратная связь по теплу в диоде Шоттки приводит к его катастрофическому перегреву.
Вольт-амперная характеристика барьера Шоттки (рис. 1) имеет ярко выраженный несимметричный вид. В области прямых смещений ток экспоненциально растёт с увеличением приложенного напряжения. В области обратных смещений ток от напряжения не зависит. В обоих случаях, при прямом и обратном смещении, ток в барьере Шоттки обусловлен основными носителями заряда — электронами.
По этой причине диоды на основе барьера Шоттки являются быстродействующими приборами, поскольку в них отсутствуют рекомбинационные и диффузионные процессы. Несимметричность вольт-амперной характеристики барьера Шоттки является типичной для барьерных структур. Зависимость тока от напряжения в таких структурах обусловлена изменением числа носителей, принимающих участие в процессах зарядопереноса. Роль внешнего напряжения заключается в изменении числа электронов, переходящих из одной части барьерной структуры в другую.
Диоды Шоттки в блоках питания
В системных блоках питания, диоды Шоттки используются для выпрямления тока каналов +3.3В и +5В, а, как известно, величина выходных токов этих каналов составляет десятки ампер, что приводит к необходимости очень серьезно относиться к вопросам быстродействия выпрямителей и снижения их энергетических потерь. Решение этих вопросов способно значительно увеличить КПД источников питания и повысить надежность работы силовых транзисторов первичной части блока питания.
Итак, для уменьшения динамических коммутационных потерь и устранения режима короткого замыкания при переключении, в самых сильноточных каналах (+3.3В и +5В), где эти потери наиболее значительны, в качестве выпрямительных элементов используются диоды Шоттки. Применение диодов Шоттки в этих каналах обусловлено следующими соображениями:
1) Диод Шоттки является практически безынерционным прибором с очень малым временем восстановления обратного сопротивления, что приводит к уменьшению обратного вторичного тока и к уменьшению броска тока через коллекторы силовых транзисторов первичной части в момент переключения диода. Это в значительной степени снижает нагрузку на силовые транзисторы, и, как результат, увеличивает надежность блока питания.
2) Прямое падение напряжения на диоде Шоки также очень мало, что при величине тока 15–30 А обеспечивает значительный выигрыш в КПД.
Так как в современных блоках питания очень мощным становится и канал напряжения +12В, то применение диодов Шоттки в этом канале также дало бы значительный энергетический эффект, однако их применение в канале +12В нецелесообразно. Это связано с тем, что при обратном напряжении свыше 50В (а в канале +12В обратное напряжение может достигать величины и 60В) диоды Шоттки начинают плохо переключаться (слишком долго и при этом возникают значительные обратные токи утечки), что приводит к потере всех преимуществ их применения. Поэтому в канале +12В используются быстродействующие кремниевые импульсные диоды. Хотя промышленностью сейчас выпускаются диоды Шоттки и с большим обратным напряжением, но их использование в блоках питания считается нецелесообразным по разным причинам, в том числе и экономического плана. Но в любых правилах имеются исключения, поэтому в отдельных блоках питания можно встретить диодные сборки Шоттки и в каналах +12В.
В современных системных блоках питания компьютеров диоды Шоттки представляют собой, как правило, диодные сборки из двух диодов (диодные полумосты), что однозначно повышает технологичность и компактность блоков питания, а также улучшает условия охлаждения диодов. Использование отдельных диодов (рис. 2), а не диодных сборок, является сейчас показателем низкокачественного блока питания.
Рис. 2
Диодные сборки выпускается, в основном, в трех типах корпусов (рис. 3):
- TO-220 (менее мощные сборки с рабочими токами до 20 А, иногда до 25-30А);
- TO-247 (более мощные сборки с рабочими токами 30 – 40 А);
- TO-3P (мощные сборки).
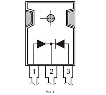
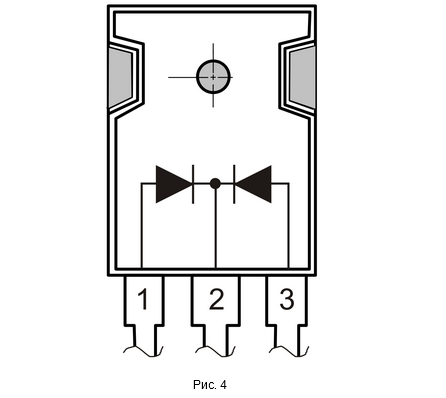
Электрическая схема и цоколевка диодной сборки Шоттки представлены на (рис. 4).
Электрические характеристики диодных сборок, наиболее часто используемых в современных системных блоках питания представлены в табл. 1.
Взаимозаменяемость диодных сборок определяется, исходя из их характеристик. Естественно, что при невозможности использовать диодную сборку с абсолютно такими же характеристиками, лучше проводить замену на прибор с большими значениями тока и напряжения. В противном случае гарантировать стабильную работу блока питания будет невозможно. Известны случаи, когда производители применяют в своих блоках питания диодные сборки со значительным запасом по мощности (хотя чаще приходится наблюдать ситуацию, как раз, обратную), и при ремонте можно установить прибор с меньшими значениями тока или напряжения. Однако при такой замене необходимо самым тщательным образом проанализировать характеристики блока питания и его нагрузки, и вся ответственность за последствия такой доработки, естественно, ложится на плечи специалиста, производящего ремонт.
Проявление неисправностей диодов Шоттки
Как уже отмечалось, неисправность диодов Шоттки является одной из основных проблем современных блоков питания. Так по каким же предварительным признакам можно предположительно определить их неисправность? Таких признаков несколько.
Во-первых, при пробоях и утечках вторичных выпрямительных диодов, как правило, срабатывает защита, и блок питания не запускается. Это может проявляться по-разному:
1) При включении блока питания вентилятор «дергается», т. е. совершает несколько оборотов и останавливается; после этого выходные напряжения полностью отсутствуют, т. е. источник питания блокируется.
2) После включения блока питания вентилятор «дергается» постоянно, на выходах блока питания можно наблюдать пульсации напряжения, т. е. защита срабатывает периодически, но блок питания при этом полностью не блокируется.
3) Признаком неисправности диодов Шоттки является чрезвычайно сильный разогрев вторичного радиатора, на котором они установлены.
4) Признаком утечки диодов Шоттки может являться самопроизвольное выключение блока питания, а значит и компьютера, при увеличении нагрузки (например, при запуске программ, обеспечивающих 100% загрузку процессора), а также невозможность запустить компьютер после «апгрейда», хотя мощность блока питания является достаточной.
Кроме того, необходимо осознавать, что в блоках питания с плохой и непродуманной схемотехникой, утечки выпрямительных диодов приводят к перегрузкам первичной цепи и к всплескам тока через силовые транзисторы, что может стать причиной их отказа. Таким образом, профессиональный подход к ремонту блоков питания, диктует обязательную проверку вторичных выпрямительных диодов при каждой замене силовых транзисторов-ключей первичной части блока питания.
Диагностика диодов Шоттки
Проверка и точная диагностика диодов Шоттки, на практике, является достаточно непростым делом, т. к. многое здесь определяется типом используемого измерительного прибора и опытом подобных измерений, хотя определить обычный пробой одного или двух диодов диодной сборки Шоттки не составляет особого труда. Для этого необходимо выпаять диодную сборку и проверить тестером оба диода согласно схеме на рис. 5. При подобной диагностике тестер необходимо установить в режим проверки диодов. Неисправный диод в обоих направлениях покажет одинаковое сопротивление (как правило, очень малое, т. е. покажет короткое замыкание), что и указывает на его непригодность для дальнейшего использования. Однако явные пробои диодных сборок в практике встречаются очень и очень редко.
В основном же, приходится иметь дело с утечками (причем зачастую с тепловыми утечками) диодов Шоттки. А вот утечки, выявить таким способом невозможно. «Утекающий» диод при проверках тестером в режиме «диод» является в подавляющем большинстве случаев полностью исправным. Гарантированную точность диагностики, на наш взгляд, позволяет дать только такой метод, как замена диода на заведомо исправный аналогичный прибор.
Но все-таки, выявить «подозрительный» диод можно попытаться с помощью методики, заключающейся в измерении сопротивления его обратного перехода. Для этого будем пользоваться не режимом проверки диодов, а обычным омметром.
Внимание! При использовании этой методики следует помнить, что разные тестеры могут давать отличающиеся показания, что объясняется различием самих тестеров.
Итак, устанавливаем предел измерений на значение [20К] и измеряем обратное сопротивление диода (рис. 6). Как показывает практика, исправные диоды на этом пределе измерений должны показывать бесконечно большое сопротивление.
Если же при измерении выявляется некоторое, как правило, небольшое сопротивление (2–10 КОм), то такой диод можно считать «очень подозрительным» и его лучше заменить, или хотя бы проверить методом замены. Если же проводить проверку на пределе измерений [200К], то даже исправные диоды могут показывать в обратном направлении очень небольшое сопротивление (единицы и десятки кОм), поэтому и рекомендуется использовать предел [20К]. Естественно, что на больших пределах измерений (2 Мом, 20 Мом и т. д.) даже абсолютно исправный диод оказывается полностью открытым, т. к. его p-n переходу прикладывается слишком высокое (для диодов Шоттки) обратное напряжение. На пределе [200К] можно проводить проверку сравнительным методом, т. е. брать гарантированно-исправный диод, измерять его обратное сопротивление и сравнивать с сопротивлением проверяемого диода. Значительные отличия в этих измерениях будут указывать на необходимость замены диодной сборки.
Иногда встречаются ситуации, когда выходит из строя только один из диодов сборки. В этом случае неисправность также легко выявляется методом сравнения обратного сопротивления двух диодов одной сборки. Диоды одной сборки должны иметь одинаковое сопротивление.
Предложенную методику можно дополнить еще и проверкой на термическую устойчивость. Суть этой проверки заключается в следующем. В тот момент времени, когда проверяется сопротивление обратного перехода на пределе измерений [20K] (см. предыдущий абзац), необходимо коснуться разогретым паяльником контактов диодной сборки, обеспечивая тем самым прогрев ее кристалла. Неисправная диодная сборка практически мгновенно начинает «плыть», т. е. ее обратное сопротивление начинает очень быстро уменьшаться, в то время как исправная диодная сборка достаточно долго удерживает обратное сопротивление на бесконечно большом значении. Эта проверка очень важна, т. к. при работе диодная сборка сильно нагревается (не зря же ее размещают на радиаторе) и вследствие нагрева изменяет свои характеристики. Рассмотренная методика обеспечивает проверку устойчивости характеристик диодов Шоттки к температурным колебаниям, ведь увеличение температуры корпуса до 100 или 125°C увеличивает значение обратного тока утечки в сто раз (см. данные табл. 1).
Вот так можно попытаться проверить диод Шоттки, однако предложенными методиками не стоит злоупотреблять, т. е. не следует проводить проверки на слишком большом пределе измерений сопротивления и слишком сильно разогревать диод, т. к. теоретически, все это может привести к повреждению диода.
Кроме того, из-за возможности отказа диодов Шоттки под действием температуры, необходимо строго соблюдать все рекомендуемые условия пайки (температурный режим и время пайки). Хотя надо отдать должное производителям диодов, так как многие из них добились того, что монтаж сборок можно осуществлять при высокой температуре 250 °C в течение 10 секунд.
Отредактировано uhoffp (13.11.2022 13:17:43)




